苹果获得iPhone新专利:让手机变得可折叠

  科客点评:可折叠真的就是智能手机的未来么?

苹果获得iPhone新专利:让手机变得可折叠

  周二的时候,美国商标专利局(USPTO)公布了苹果获得的一项新专利。文件显示该公司多年来一直积极准备着一款采用了铰链设计的疑似iPhone设备,且该设备很可能配备了一块可折叠的柔性(金属背板)OLED显示屏。这项专利的编号为No. 9,504,170,描述了一台“灵活显示设备”(配备了一块可折叠全显示屏的一部iPhone手机)。

  从图片上来看,该设备与风靡1990年代的摩托罗拉翻盖机很像。不过苹果的这项专利,依赖于一些灵活的组件,其中最重要的,莫过于一块OLED显示屏,以及金属支撑结构。

  文档中提到,该支撑结构用到了一种镍钛合金(proposes nitinol),特点是拥有独特的弹性和形状记忆能力(具象化的替代品包括柔性高分子聚合物)。

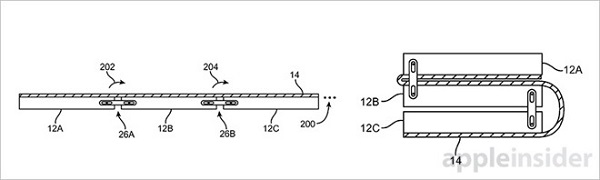
  在某些示例中,可知设备的顶部和底部被分成了两大块区域,并且分别都有处理器、传感器等电路元件。

  比如上半截放下了摄像头、屏幕控制单元、扬声器、以及光线传感器模块,而下半截塞进了CPU、GPU、震动马达等所需的部件。

  在某一示例中,这款设备可以像老式翻盖机那样折叠,以便为设备部件提供额外的防护。或者通过末端锯齿状的固定装置,卡扣在用户的衣服上。

  为了缓解OLED部件的压力,苹果还为其配备了用于张紧调节的辊轴部件(在铰链旋转时起辅助作用),两种铰链的设计图如下。

  考虑到iPhone的设计已经有十年之久,苹果不太可能立即发布这样一款可折叠的智能机。我们今天看到的专利技术,很可能出现在其它苹果产品线上,比如MacBook或iPad。

  这份专利申请提交于2014年7月,发明人署名为Fletcher R. Rothkopf、Andrew J. M. Janis、以及Teodor Dabov。关注科客网官方微信kekebat,获取更多精彩资讯。(cnBeta.COM,原标题《苹果获得可折叠OLED屏iPhone设计专利 采用独特铰链结构》)

苹果获得iPhone新专利:让手机变得可折叠

注:转载文章,不代表本站赞同其观点和对其真实性负责,本站不承担此类稿件侵权行为的连带责任。如版权持有者对所转载文章有异议,请与我们联系。

收藏
分享到:
我要点评 1 条评论

最多可输入140个字

  • 市丸银

    市丸银

    ████████████看 黃 魸 手 机 浏 覽 噐 咑 幵:275236.c○m 郗蒛資羱!无需下载、直接欣赏,妳嬞鍀!████████████桌最

    回复

快讯

  1. 五年实力质变!小米17系列重磅发布、推出汽车定制服务
  2. 中国电信精彩亮相2025年中国国际信息通信展览会
  3. 2025骁龙峰会·中国,高通携手生态伙伴发布“AI加速计划”
  4. ColorOS 16三大流畅黑科技,OPPO Find X9系列首发搭载
  5. 安吉尔首创黄金比矿物质饮水机,定义健康饮水新标准
  6. 中国电信广东公司升级发布“算力超市2.0”
  7. 从有面儿到全面,华为Mate XTs 非凡大师重新定义折叠屏价值
  8. 联通AI激活“蓝色粮仓”,赋能海洋可持续发展
  9. 广汽昊铂首款智慧旗舰轿车A800成都车展首秀,深度携手华为
  10. 中兴通讯上半年营收同比增长14.5%,战略升级持续见效

Talk客

  1. Talk客:共享单车风波四起,谁又将是最后赢家呢?
  2. Talk客:各取所需而已?谷歌这11亿刀是否物超所值?
  3. Talk客:安卓旗舰四面围剿,新iPhone能否成功逆袭?
  4. Talk客:6GB大运存手机遍地走,是刚需还是噱头?
  5. Talk客:靠脸吃饭成现实!支付宝“刷脸支付”商用,你怎么看?
  6. Talk客:年度最强安卓旗舰三星Note8来了,你准备剁手?
  7. Talk客:联想痛失全球PC第一王座 靠VR能扳回一城?
  8. Talk客:昔日大牌,归来已是小众!他们的出路在哪?
  9. Talk客:魅族PRO 7会是它的春天?联发科高端梦何时圆
  10. Talk客:国产品牌豪夺国内市场份额 苹果三星销量能否逆袭?

作者推荐